MI?! A régi perifériák is jók lesznek a Playstation 5-höz?
Egy újonnan felfedezett sablon alapján a konzollal kompatibilisek lesznek olyan ezeréves kiegészítők, mint a PS Move Wands, vagy a DualShock 3.
Egy újonnan felfedezett sablon alapján a konzollal kompatibilisek lesznek olyan ezeréves kiegészítők, mint a PS Move Wands, vagy a DualShock 3.
Egy újonnan felfedezett sablon alapján a konzollal kompatibilisek lesznek olyan ezeréves kiegészítők, mint a PS Move Wands, vagy a DualShock 3.
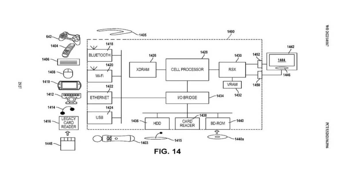
A Game Rant megszerzett egy új rendszerleírást, ami arra enged következtetni, hogy a Sony szeretné, ha a korábbi konzoljaihoz kiadott kiegészítők és kontrollerek csatlakoztathatóak lennének a Playstation 5-höz is. Nem kell szakértőnek lenni hozzá, hogy az alábbi vázlat alapján egyetértsünk a velük:

Forrás: Game Rant
Ha az történik, amire gondolunk, olyan ősrégi cuccokat áshatunk ki a szekrény aljáról, mint a PS3-hoz készült DualShock kontroller és memóriakártya, a Sony Media távirányító, a Playstation egér, az EyeToy, vagy a PS Move Wands (ami nem mellesleg az egyetlen ma is kapható kütyü a felsorolásban). Mindez különösen érdekes annak ismeretében, hogy
a Sony korábban lemondott ezekről az eszközökről, mert – na ja – jobban szerette volna, ha az újabb konzolhoz megvennénk az újabb perifériákat is.
Nagyon úgy fest, hogy a gyártó véghez viszi korábban bejelentett stratégiáját, és alkalmassá teszi rá a PS5-öt, hogy a nemrég átszabott Playstation Plus csomagokban hozzáférhető klasszikusokat azokkal az ezeréves kiegészítőkkel játszhassuk, amikhez anno megvettük őket. Bár valószínűbb, hogy fordítva lesz: nem a legújabb gép átszabásával (örülnek, hogy az alkatrészhiány lecsengésével egyáltalán gyártani tudják), hanem a régi perifériák szoftverfrissítésével támogatják meg a prémium előfizetési csomag kínálatát.

Fotó: timftdx7 / Reddit
Mint ismert, a frissített PS Plus legdrágább opciójával legalább 340 darab, Playstation, PS2, PS3, PSP, PS4 generációkra készült játék válik elérhetővé. Mivel ezt felhőalapú streameléssel oldják meg, persze PC-n is indulhat a nosztalgia!
