Lesz olyan, hogy PS5 Pro? - A Sony szabadalma dupla GPU-ra utal
Bár a Sony PS5 egy teljesen új konzol, a rajongók máris azon pörögnek, hogy lesz-e a PS4-hez hasonlóan Pro változat. Kinek van igaza?
Bár a Sony PS5 egy teljesen új konzol, a rajongók máris azon pörögnek, hogy lesz-e a PS4-hez hasonlóan Pro változat. Kinek van igaza?
Bár a Sony PS5 egy teljesen új konzol, a rajongók máris azon pörögnek, hogy lesz-e a PS4-hez hasonlóan Pro változat. Kinek van igaza?
Talán mindenki jól tudja, hogy 2013-as megjelenése óta a PlayStation 4-nek rengeteg változata volt, a legutóbbi pedig a PS4 Pro nevet kapta, mely erősebb hardverrel rendelkezett az első verziókhoz képest. Nem sokkal azután, hogy a Sony bejelentette a PS5 megjelenését, máris jöttek a találgatások, pletykák azzal kapcsolatban, hogy vajon a jövőben lesz-e PS5 Pro?
Lehet, hogy valamikor jön egy még erősebb PS5 konzol?

Nos, úgy tűnik, mintha a Sony már tervezné azt a bizonyos PS5 Pro-t, legalábbis néhány most megjelent szabadalmi dokumentum erre utal. Ez lehet majd a legerősebb konzol, ami valaha építettek. A kérdés persze az, hogy a szabadalom megvalósul-e? Nézzük, mit tudunk eddig.
Alig néhány héttel az alap PS5 megjelenése után, a Sony máris új hullámokat indított a hírek tengerében azzal, hogy új szabadalmi beadványok láttak napvilágot. Bár a dokumentumokat még 2019-ben nyújtották be, csak most, 2020 végén kerültek nyilvánosságra.
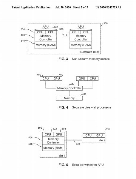
A szabadalom célja az, hogy előre regisztráljanak egy lehetséges hardvertervet egy olyan konzolhoz, mely több GPU-t tartalmaz majd egyszerre. A dokumentum megemlíti a PS5 „light” verzióját is, valamint egy „high-end” verziót. Utóbbi konzol nagyobb kapacitással és nagyobb tárhellyel büszkélkedik a szabadalom szerint.

„A csúcskategóriás rendszer több memóriát tartalmazhat, és egyéb funkciók is használhatók, a felhő-optimalizált verzióban” – olvasható. A legérdekesebb persze a dupla GPU terve, ám hogy ez miként működne, arról nincs információ.

A bejegyzett szabadalom persze semmilyen hivatalos információt nem osztott meg arról, hogy valójában ha lesz, mikor lesz PS5 Pro. Nyilvánvaló, hogy a Sony kísérletezik valamilyen friss megoldással a PS5 kapcsán, de semmi nem utal arra, hogy mikorra tervezik. Mindössze annyit tudunk, hogy van egy dupla GPU setup terv, ami akár az első PS6 terv is lehet.
Korábban a PlayStation vezérigazgatója Jim Ryan azt nyilatkozta, hogy a PS6 talán már egy hibrid konzol lesz, mely a konzol és a felhőalapú játék eszköze lesz. Ez összevág a szabadalom felhő-optimalizációs tervével.

A szabadalmak persze folyamatosan jönnek-mennek, alakulnak, változnak, így természetesen egyik tervet sem lehet biztosra venni. Persze ha spekulálnunk kell, akkor feltételezzük, hogy a PS5 azt a mintát követi, mint a PS4. Vagyis a jövőben, évek múlva talán lesz PS5 Pro.
Ez persze azt is jelenti majd, hogy a PS5 Pro még drágább lesz, mint az alapmodell. Persze ezeket az infókat nem árt fenntartásokkal kezelni. A Sony nem erősítette meg, hogy készülnének PS5 Pro konzollal.
Álmodozni azért még szabad, nem?
