Olyan kontroller készülhet, amin PlayStation és Xbox gombok is lesznek EGYSZERRE
Képzeld el, hogy ugyanazt a kontrollert használhatod a PlayStation és az Xbox konzollal is, mert mindegyik gomb megtalálható rajta.
Képzeld el, hogy ugyanazt a kontrollert használhatod a PlayStation és az Xbox konzollal is, mert mindegyik gomb megtalálható rajta.
Képzeld el, hogy ugyanazt a kontrollert használhatod a PlayStation és az Xbox konzollal is, mert mindegyik gomb megtalálható rajta.
2024.07.09. – Ugye milyen bosszantó, amikor a kontrollereket folyton váltogatni kell attól függően, hogy éppen milyen gyártó játékával játszol? Ráadásul néha tök nehéz megszokni, hogy éppen melyik gomb melyik. A PlayStation esetében a háromszög, X, kör, négyzetet kell megszokni, az Xbox esetében az A, B, X, Y kiosztást, és ha mobilon játszunk kontrollerrel, akkor mindkettőből kell egy. Nos, lehet, hogy egy külső gyártó, a Backbone ezt a problémát fogja megoldani.
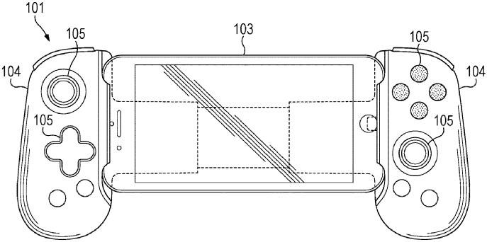
Egy új szabadalom szerint a Backbone egy olyan mobilkontrolleren dolgozhat, ami PlayStation és Xbox gombszimbólumokkal is rendelkezik. A Backbone-t sokan a Backbone One kontroller miatt ismerhetik, ami mobilokhoz készült. 2022-ben a cég bejelentette, hogy olyan PlayStation 5 kontrollert készít, amivel a játékosok a PlayStation Remote Play segítségével iPhone-on játszhatnak AAA-s játékokkal, mint a Horizon Forbidden West, a Gran Turismo 7 és a Diablo Immortal. Nagyjából egy évvel később a Sony és a Backbone ismét összefogott egy újabb PlayStation Backbone One kontrollerhez, ezúttal Android mobilokra. A Backbone persze korábban a Microsofttal is együttműködött, hogy 2021-ben Backbone One Xbox kontrollert készítsen, amikor az Xbox Cloud Gaming elindult iOS-eszközökön. Persze más streaming-szolgáltatások, mint a GeForce Now is támogatják a Backbone One-t.
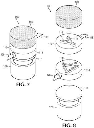
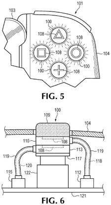
Bár a Backbone kontrollerei jellemzően egy adott rendszerhez készültek, egy nemrég közzétett szabadalom egy olyan Backbone One kontroller prototípusáról árulkodik, ami elméletileg a dinamikusan változó gombok révén a PlayStation és az Xbox rendszereket is támogatná. A gombok mögött több fényforrás lenne, amivel a gombok aszerint változnak, hogy a játékos éppen melyik konzolt vagy streamingszolgáltatást használja. Kattints a nagyobb képekért!
Ezzel a Backbone egyetlen kontrollert tudna árulni, ami PlayStation és Xbox rendszerrel is működik, ahelyett, hogy külön-külön kell gyártani a két rendszerhez. Bár a szabadalmat már benyújtották, továbbra is fennáll az esélye annak, hogy soha nem valósul meg. Ez már csak így van a szabadalmakkal.
Borítókép: GameRant
8 játék, amiről azt mondtuk: „ennél szebb már sose lesz” – aztán csak lett
