Sokkal jobban futhat a ray tracing Xboxon, de a PC-sek is jól járhatnak
Az AMD grafikus egységeit találhatjuk meg a Microsoft és a Sony konzolokban is. A Ray Tracing terén nagy lemaradásban van a gyártó.
Az AMD grafikus egységeit találhatjuk meg a Microsoft és a Sony konzolokban is. A Ray Tracing terén nagy lemaradásban van a gyártó.
Az AMD grafikus egységeit találhatjuk meg a Microsoft és a Sony konzolokban is. A Ray Tracing terén nagy lemaradásban van a gyártó.
2024.03.25. – Nem titok, hogy az AMD grafikus egységei egy dologban jelentősen le vannak maradva az Nvidia-hoz képest. Ez pedig nem más, mint a ray tracing. A közösség véleménye megoszlik, hogy mennyire beszélhetünk hasznos funkcióról, ám az tény, hogy a két gyártó nem említhető egy lapon. Az Nvidia több generációs előnyben van a vörös óriáshoz képest. Ez azonban nem csak a PC-s piacot befolyásolhatja, hiszen mind a PlayStation, mind pedig a Microsoft konzoljaiban is AMD grafikus magok teljesítenek szolgálatot. Sőt, a PS5 Pro sem lesz kivétel.
Úgy tűnik tehát, hogy a konzolos játékosoknak jó ideig az AMD grafikus magokra kell támaszkodniuk. A Microsoft pedig nem ül tétlenül, jól tudják, hogy milyen gyenge pontjai vannak az AMD RDNA architektúrának. Az egyik vezető mérnökük az elmúlt időszakban több, meglehetősen izgalmas szabadalmat is benyújtott. A szabadalmak közös tulajdonsága, hogy szoftveres oldalról optimalizálná a videokártyák, grafikus magok működését legfőképp ray tracing számítási műveletek közben.

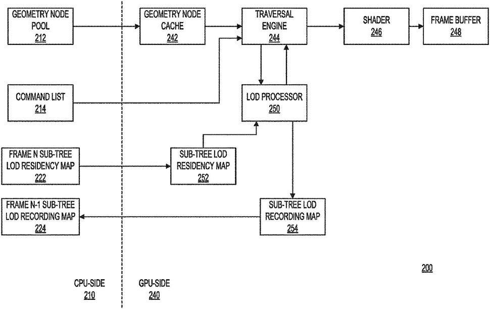
A Microsoft szabadalma
Az átlagos földi halandók a fentebb felvázolt szabadalomból nem igazán szűrhetik le annak jelentőségét, de a PCGamer szerencsére a segítségünkre sietett. A frissen felvázolt fejlesztés az úgynevezett BVH – Bounding Volume Hierarchy struktúrák memória és gyorsítótár igényén finomítana. A BVH struktúrákat arra használják a játékok fejlesztői, hogy némileg felgyorsítsák a ray tracing számításokat. A struktúrák azonban roppant memória igényesek, nem véletlen, hogy bekapcsolt Ray Tracing esetén érezhetően több VRAM-ot kérnek maguknak a játékok.
A Microsoft fejlesztésének köszönhetően azonban jóval hatékonyabban lehetne a BVH-kat tárolni a memóriában és kevesebb helyet is kérnének maguknak. Csak azok a struktúrák kerülnének a videomemóriákba, melyekre tényleg szükség is van egy adott jelenetnél. Ez pedig magát a ray tracing műveleteket is felgyorsíthatná, hiszen az algoritmusnak is kevesebb eshetőséggel kell számolnia, azaz előbb végezhet. Ennek köszönhetően végül több FPS-t kaphatnak kézhez a játékosok. A fenti szabadalomnak köszönhetően nem csak a VRAM teher lenne kisebb, de a képkockák száma is nőne ray tracing műveletek alatt az AMD egységeken. Mindezeket pedig hardveres módosítások nélkül oldanák meg a Microsoft munkatársai. A legjobb az egészben, hogy az Xbox mellett akár az asztali RDNA 2 és RDNA 3 architektúrás AMD kártyák is profitálhatnak a fejlesztésből, ha valós körülmények között is megvalósítják azt. A Microsoft természetesen az Xbox Series X/S konzolok teljesítményét szeretné így javítani első sorban, de semmi sem akadályozza meg azt, hogy PC-s környezetbe is megérkezzen a fentebb részletezett fejlesztés.
Rá vagy kattanva, kezedhez nőtt a mobil? – Ezekkel jöhetsz le róla
