A Sony figyelni szeretne játék közben, és könnyít, ha béna vagy
A Sony nemrég olyan szabadalmat tett közzé, ami alaposan átalakítaná a nehézségi fokozatok rendszerét a PlayStation játékokban.
A Sony nemrég olyan szabadalmat tett közzé, ami alaposan átalakítaná a nehézségi fokozatok rendszerét a PlayStation játékokban.
A Sony nemrég olyan szabadalmat tett közzé, ami alaposan átalakítaná a nehézségi fokozatok rendszerét a PlayStation játékokban.
2023.12.18. – Megmondom őszintén, én olyan játékos vagyok, aki a sikerélményért játszik. Ez azt jelenti, hogy játék közben akkor vagyok boldog, ha haladok, ha erős vagyok, ha könnyű dolgom van. Éppen ezért mindig a könnyű nehézségi szintet választom, hiszen inkább a játékmenet, a történet érdekel, mint a kihívás. Valószínűleg sokan vannak ezzel így, ha a Sony elgondolkozott azon, hogy forradalmasítja a nehézségi szinteket a játékokban.
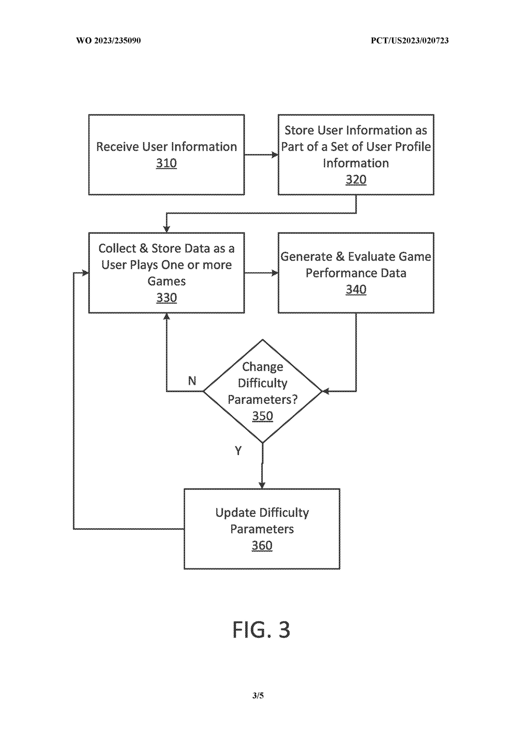
Ha lehet hinni az Insider Gaming hírének, akkor a Sony most olyan megoldáson dolgozik, ami még inkább személyre szabottabb módon állítja be a nehézséget. Ez nem csak azt jelenti, hogy mondjuk 4-5 nehézségi szint közül választ nekünk, de bizonyos specifikus dolgokat is beállíthat. Egy nemrég benyújtott szabadalom szerint ugyanis a PlayStation játékok közben, valós időben elemzi egy rendszer, hogy mi okoz nekünk nehézséget, és automatikusan ehhez méri be a szintet.
Természetesen vannak már ma is olyan játékok, melyet hasonló módon működnek. Az MLB The Show című baseball játékban például a rendszer méri a játékos sikerét és sikertelenségét, és automatikusan módosítja ez alapján a nehézségi fokozatot. Ez segít abban, hogy a játékos ne legyen túl ideges, ha nem sikerül valami, illetve nem lesz a játék unalmas. Úgy tűnik, hogy a Sony-t érdekli ez az ötlet, ami a single-player játékok új korszakát eredményezheti. A Sony rendszere azonban ennél jóval kifinomultabb.
Nos, a Sony a korábban említett ötletre építve olyan algoritmusokat vezetne be a játékokba, amik a nehézségi beállításokat az egyes játékosokra hangolják. Ezek az algoritmusok azt mérnék, hogy a játékos hogyan birkózik meg bizonyos típusú mechanikákkal vagy kihívásokkal a játékon belül. Majd ennek megfelelően állítaná be a nehézséget. Ha például egy játékosnak a reakcióidővel van gondja, de mással nem, akkor az új funkció csak a játék azon aspektusait módosítaná, amik erre vonatkoznak, más funkciókhoz nem nyúlna. Szóval könnyít abban, amiben nem vagy annyira jó.
A szabadalom leírja továbbá, hogy a játékokban gyakran túl nagy a különbség a nehézségi szintek között, az egyik túl könnyű, a másik túl nehéz. Ideális esetben ez az új funkció megoldaná ezt, hiszen minden játékot a saját képességeinkhez vagy gyengeségeinkhez igazítanák.

Ez a funkció persze nem azoknak a játékosoknak való, akik imádják a nagyon nehéz kihívásokat. Sőt, vannak olyan játékok, ahol a nehézségi szint beállítása alapból nem opció. Ilyenek mondjuk az olyan címek, mint a Dark Souls. Bár lehet, hogy ezzel a kis módosítással mindenkit be lehetne vonzani ebbe az alapból nehéz műfajba.
Egyelőre persze ez is csak egy szabadalom, tehát nem biztos, hogy megvalósul. A Sony számtalan szabadalmat nyújt be, amivel szeretnék elérni, hogy a PlayStation játékosok még egyedibb élményt kapjanak. Ezek nagy része azonban sosem valósul meg. A másik probléma a szabadalommal, hogy annak elfogadása esetén a rendszert más játékok (és platformok) elvileg nem használhatnák, ami elég problémás lehet a játékiparban, főleg mivel az ötlet – mint mondtuk – több játékban már létezik. Így valószínűleg megvalósítani több aggályt vetne fel, mint amennyire jó ötlet.
Hibás PlayStation 5 alaplapból AMD videokártya?! – Ezt is megoldották
