Olyan MacBook billentyűt tervez az Apple, amit leveszel és egér lesz belőle
Egy új MacBook szabadalom szerint egy levehető billentyűzet készülne, ami egérként is használható lenne. De tényleg elkészíti az Apple?
Egy új MacBook szabadalom szerint egy levehető billentyűzet készülne, ami egérként is használható lenne. De tényleg elkészíti az Apple?
Egy új MacBook szabadalom szerint egy levehető billentyűzet készülne, ami egérként is használható lenne. De tényleg elkészíti az Apple?
2023.10.11. – Az, aki rendszeresen laptopon dolgozik, ráadásul nem is otthon, hanem mindenféle terepen, bizonyára találkozott már a „hová tegyem az egeret” problémával. Aki utálja a touchpadet, annak bizony külön egér kell, ahhoz pedig hely, ha használni akarjuk. Nem beszélve az egér cipeléséről, tárolásáról, bla-bla-bla. Na, az Apple erre kitalált valamit.
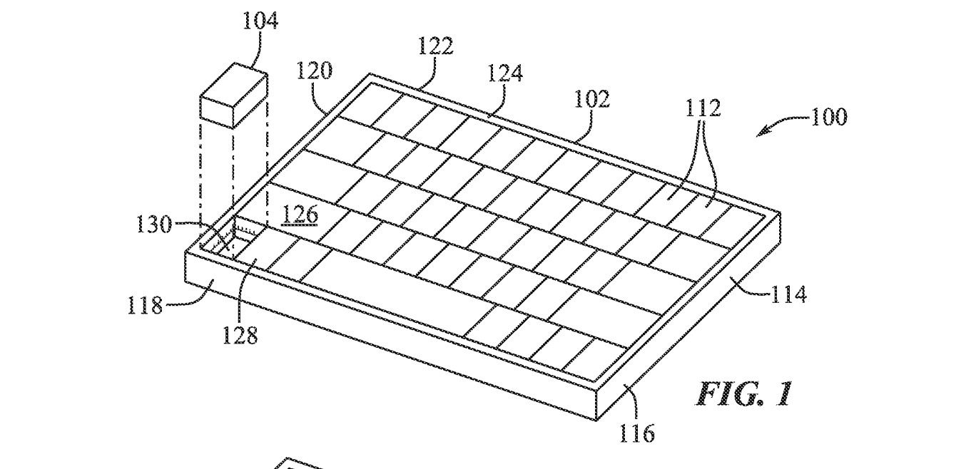
Persze amikor az Apple szabadalmakról beszéltünk, mindig problémába ütközünk, ugyanis szeretnek olyan nyelvezetben fogalmazni, ami miatt a lényeget nehéz értelmezni. Ettől persze még szórakoztató. Mint például az a nemrég megjelent szabadalom, ami szerint az Apple olyan billentyűzetről levehető billentyűt tervez, ami aztán beviteli eszközzé, kvázi egérré válik.
A szabadalom egy úgynevezett Deployable Key Mouse, amihez az Apple még 2021-ben adott be szabadalmi kérvényt, de csak mostanra kapta meg az engedélyt. Ha minden igaz, a lényege, hogy a MacBook billentyűzetén lenne egy rejtett és eltávolítható billentyű, ami aztán egy ugyancsak rejtett érzékelőnek köszönhetően egérré alakul.

A szabadalom azt sugallja, hogy az így létrejövő eszköz kényelmesen használható lenne, ami a méretét tekintve valószínűtlennek tűnik. Az Apple azonban a leírás alapján meg van győződve róla. A szabadalom több elképzelést is bemutat, a lényege azonban ugyanaz. A kis levehető billentyűzetet az ujjunkkal nyomkodva tudnánk irányítani a kurzort.
Amikor a kis billentyű-egér nincs használatban, akkor az egészet szépen vissza lehet helyezni a billentyűzetbe, és akkor sima billentyűként funkcionál, vagyis gépelés közben is használható. Az elképzelés nagyon ötletes, persze kérdés, hogy mennyire könnyű használni valójában. Ez persze csupán egy szabadalom, egyáltalán nem biztos, hogy megvalósul.
Ne feledjük, az Apple és mérnökei minden évben rengeteg ötletet szabadalmaztatnak, de kevésből lesz olyan szolgáltatás vagy termék, ami eljut a felhasználókhoz. Szóval lehet, hogy a billentyű-egér is úgy jár, hogy eltűnik a süllyesztőben. Szóval kedves MacBook userek, egyelőre marad a trackpad vagy az egér a táskában.
Ezt a 20 zseniális játékot most teljesen INGYEN kipróbálhatod a Steamen
