A Sony berakja az AI-t a PlayStation játékokba, hogy jobban "lásd" őket
Egy új Sony szabadalom szerint a mesterséges intelligencia segít abban, hogy azok is jobban lássák a PlayStation játékokat, akiknek eddig nehezen ment.
Egy új Sony szabadalom szerint a mesterséges intelligencia segít abban, hogy azok is jobban lássák a PlayStation játékokat, akiknek eddig nehezen ment.
Egy új Sony szabadalom szerint a mesterséges intelligencia segít abban, hogy azok is jobban lássák a PlayStation játékokat, akiknek eddig nehezen ment.
2023.08.23. – Ha bárki úgy gondolta, hogy a Sony ül a babérjain, és számolja a PlayStation konzolokból és játékokból befolyó pénzt, akkor téved. A cég folyamatosan dolgozik a fejlesztéseken és újításokon. Rengeteg pletyka szól a PlayStation 5 Slim és Pro konzolokról, sőt a Sony számtalan szabadalmat nyújt be. Nemrég például arról lehetett hallani, hogy olyan eszköz készülhet, ami legyártja nekünk a videojátékok illatait.
A szabadalmak sora persze nem ér itt véget. Most, amikor a mesterséges intelligencia-rendszerek ilyen elterjedtek, a Sony a PlayStation játékokat is szeretné feljavítani velük. Azok számára, akik nehezen látják a játékokat – számol be róla a GameRant.
Az új PlayStation szabadalom értelmében a látássérültek sokkal könnyebben láthatják majd a játékokat.

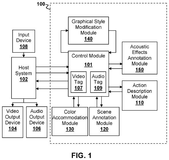
Az új Sony szabadalom szerint a mesterséges intelligenciát arra használnák, hogy a játékokat elérhetőbbé tegyék a látássérültek számára. A szabadalom leírása értelmében a jövőbeni PlayStation játékokban egy külön bekapcsolható rendszer lenne elérhető, ami jobban illusztrál bizonyos jeleneteket a látássérültek számára. Ezt a rendszert különböző modulok aktiválhatják, amik visszajelzést adnak a játékról. A modulok közé tartozik például egy akcióleíró modul, jelenetleírás, grafikai stílus és akusztikus effect-megjelölés. A DualSense vezérlőhöz kapcsolt visszajelzések kombinálásával a képernyőn zajló akciók külön feliratokban jelennének meg a játékos számára. Ez az új rendszer pontosabb képet adhat a látássérült játékosoknak arról, hogy mi történik a játékban, mint csupán a jelenetek leírása.

Részlet a szabadalomból
A Sony tehát felhasználja a DualSense kontroller adatait, például a játékos mozgását, a képkockák változásait, a gombnyomásokat és a beépített hangszórón keresztül lejátszott hangjelzéseket. Az AI pedig ebből külön feliratokat készít, és segíti a látássérülteket. Az új rendszer amúgy filmekben, sorozatokban és zenében is alkalmazható lenne.
Bár néhány modern játékban van feliratozás, ez az különleges igényekre szabott rendszer előnyös lehet az olyan PlayStation játékok esetében, amikben alapból nincs. Persze a megvalósítás még eltarthat egy darabig. Sajnos azonban ez bármennyire is szép, nem minden benyújtott szabadalom valósul meg.
Zack Snyder: Nem csak film, de Rebel Moon co-op játék is készül
