Az Apple gőzerővel dolgozik - Jöhet egy még vékonyabb MacBook?
Az Apple új szabadalma a MacBook teljes formájára hatással lehet.
Az Apple új szabadalma a MacBook teljes formájára hatással lehet.
Az Apple új szabadalma a MacBook teljes formájára hatással lehet.
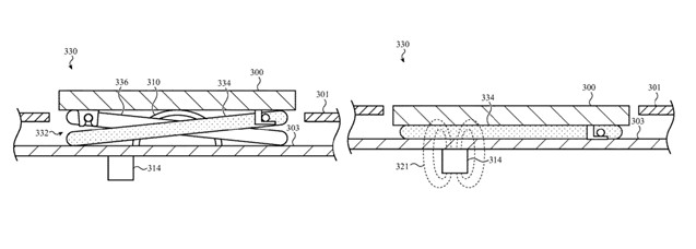
A Patently Apple nagyszerű kapcsolatainak köszönhetően most már mi is beszámolhatunk nektek a vállalat vadi új szabadalmáról, mely eredetileg a billentyűzetre vonatkozik, de végül az egész laptop méretére hatással lehet. Tény, hogy az almás készülékek gyártói régóta törekednek arra, hogy a MacBook a lehető legkecsesebb és legvékonyabb formáját önthesse magára.

A szabadalmi terv szerint a billentyűzettel szórakoznának egy kicsit. Hogy céljukat elérjék, olyan visszahúzható billentyűt terveztek, ami segít néhány millimétert lefaragni a laptop vastagságából. A kivitelezés érdekében egy olyan mágneses zárat alkalmaznának, mely a laptop bekapcsolásakor alapállapotba állítaná a billentyűket, kikapcsoláskor viszont behúzná azokat.

Mivel a cupertinói cég még csak nemrégiben nyújtotta be ellenőrzése a szabadalmakat, ez a fogyasztók számára azt jelenti, hogy ha minden rendben van, és úgy működik ahogy kell, talán már a jövő évi megjelenésekkel együtt érkezik az új darab.
